Введение продукта
Технические характеристики
1).Максимальная магнитная напряженность: 20000GS.
2).Водосбережение не менее 8000 кубометров в год.
3).Extherm можно контролировать с помощью 30 ℃.
4).Система масляного охлаждения для замены устаревшей системы водяного охлаждения.
5).Компактная конструкция, простота установки и эксплуатации.
6).Катушка возбуждения полностью погружена в трансформаторное масло для увеличения срока службы.
Структура

Схема процесса разделения


Pпалаткатехнические инновации пункт 1
Катушки
Специальная конструкция катушки возбуждения, между катушками обмотки есть зазоры, которые питают трубопровод охлаждающего масла.Увеличьте площадь рассеивания и маслопровод охлаждения.Быстрый теплообмен.Повышение температуры катушки составляет не более 30 ℃, низкое повышение температуры в холодном и горячем состоянии, разница магнитного поля невелика, по сравнению с той же силой магнитного поля, снижение мощности возбуждения на 20%, экономия электроэнергии 45000 кВтч / год.
Полностью герметичная конструкция, пыленепроницаемая, влагостойкая, устойчивая к высоким температурам, может работать в суровых условиях.
Структура катушки и контрастная диаграмма принципа охлаждения
другие производители (первое поколение) в полых проводниках водяного охлаждения

1. корпус катушки 2. охлаждающая вода 3. полый проводникдругие производители (второе поколение) среди змеевиков водяного охлаждения

1. корпус змеевика 2. охлаждающая вода 3. многослойные змеевики заполнены водой 4. водяной рукав (нержавеющая сталь)
Змеевики масляного охлаждения Shandong Huate (третье поколение) погружены в масло

1. корпус катушки 2. масляный канал (охлаждающее масло) 3. однослойное масло для обмотки

Патентная техническая инновация пункт 2
Система охлаждения
1. Система охлаждения имеет полностью герметичную внешнюю циркуляционную конструкцию, защищенную от дождя, пыли, антикоррозийную, подходящую для всех видов суровых условий.
2. Принять конденсатор воздушного охлаждения, интеллектуальное управление, температура катушки возбуждения постоянна, колебания магнитного поля минимальны (менее 2%) в режиме охлаждения, другие отечественные производители делают температуру катушки слишком высокой, колебания магнитного поля достигают 15% ~ 30%, что оказывают большое влияние на показатели обогащения руды.
3. С большим расходным дисковым трансформаторным масляным насосом, высокой скоростью циркуляции, быстрым теплообменом.

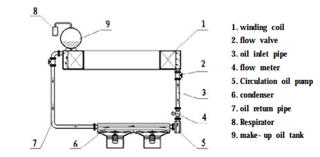
Схема системы охлаждения
Система принудительного охлаждения масла включает в себя змеевик обмотки, трубку подвода масла, обратку, конденсатор, насос циркуляции масла, расходомер, проточный клапан, термопару, бак для подпиточного масла, респиратор и т.д.

Методы выбора: обычно мы выбираем оборудование исходя из мощности концентратора.
Примечание:красные данные означают магнитный сепаратор с высоким градиентом средней интенсивности.
(Только для справки)

Сайт
